标卖网隶属于怒名知产旗下项目
400-9588-618
首页 需求大厅 行业资讯

爆火的泡泡马特,有超90+IP,2000+商标!

分类:商标新闻 时间:2025-06-09 15:24 浏览:4796

一只小小的盲盒玩偶,撬动了一个百亿级市场。


近期,Labubu火遍全球,泡泡玛特股价也持续上涨,创始人王宁以1185亿元身家,成为新一任河南首富。

1.png

泡泡玛特的崛起堪称商业奇迹,但鲜为人知的是,支撑其高速扩张的,除了源源不断的爆款IP创意,还有一道由2000多件注册商标组成的品牌壁垒!



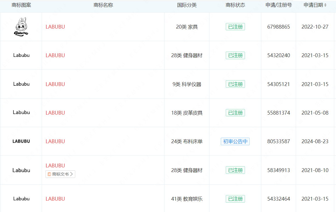
丨2000+商标布局


从MOLLY、DIMOO、CRYBABY到SKULLPANDA、THE MONSTERS,以及一夜之间红遍大江南北的LABUBU,泡泡玛特已打造超90个自有及独家IP资源。



标卖网知产查询了解到,泡泡玛特名下有2000多件商标信息,针对每个IP都进行了全方面的商标保护,从名称到图形设计等,几乎全类别注册,从源头规避其他主体“蹭名牌”的现象发生。


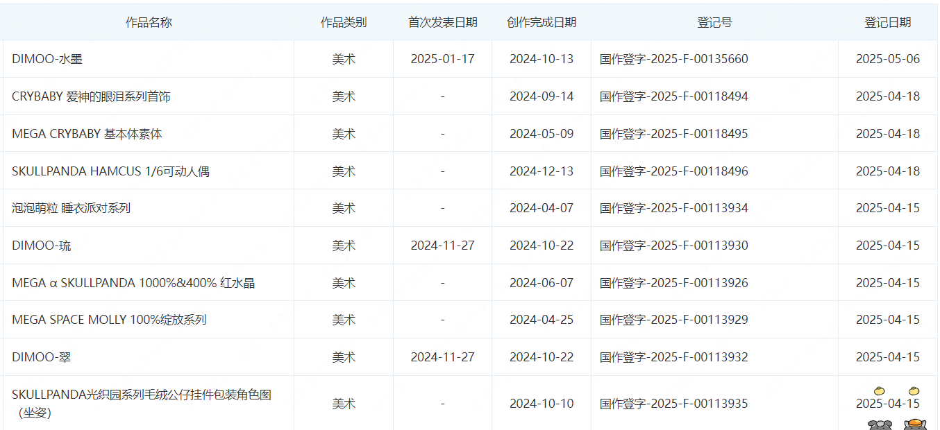
丨1500+作品著作权


除了商标之外,美术作品著作权也是IP价值的初始起点,泡泡玛特已登记1500多件著作权。



版权保护确保了设计创意的独特性与排他性,使得IP形象在衍生品开发、动画制作、游戏授权、主题展览等全产业链条中释放出巨大商业价值。


泡泡玛特的案例深刻揭示了知识产权在创意经济中的核心地位,版权与商标权双轨并行,形成法律合力,共同守护着创意转化的每一环节,最大化IP的生命周期与盈利能力。

联系客服